等温处理时间对触变挤压锡青铜轴套的组织和性能的影响 |
| 肖寒, 周瑀杭, 陈磊, 张雄超, 崔鋆昕, 熊迟 |
|
Effect of Isothermal Time on Microstructure and Properties of Thixo-extruded Tin Bronze Bushing |
| XIAO Han, ZHOU Yuhang, CHEN Lei, ZHANG Xiongchao, CUI Yunxin, XIONG Chi |
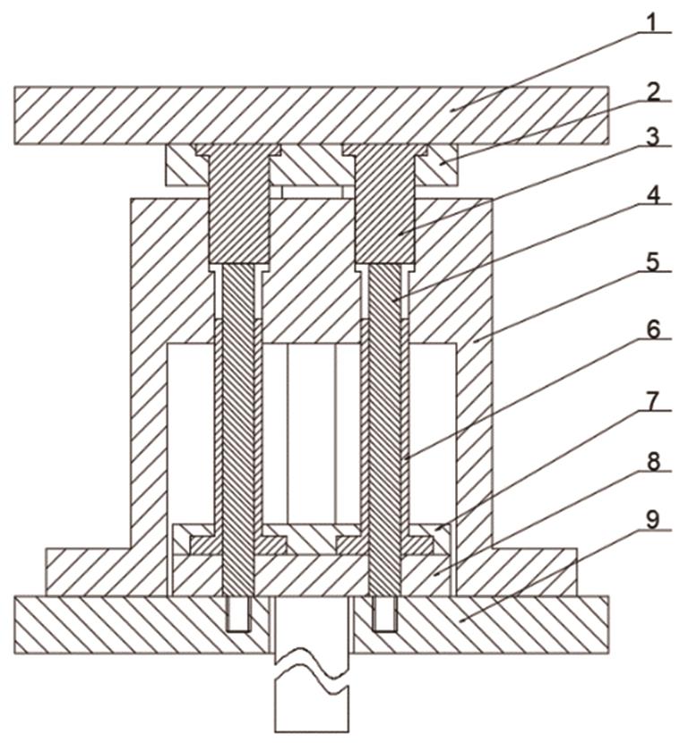
| 图1 触变成形模具的示意图 |
| Fig.1 Schematic diagram of thixoforming die. 1-upper pattern plate, 2-Punch fixing plate, 3-Punch, 4-Guide post, 5-Concave die, 6-Ejector rod, 7-Ejector rod fixing plate, 8-Push board, 9-Down pattern plate |
|