中图分类号: TG132.3
通讯作者:
修回日期: 2015-03-19
网络出版日期: --
版权声明: 2015 《金属学报》编辑部 版权所有 2014, 金属学报编辑部。使用时,请务必标明出处。
基金资助:
作者简介:
作者简介: 苏勇, 男, 1979 年生, 博士生
展开
摘要
通过蠕变性能测试、组织形貌观察及位错组态的衍射衬度分析, 研究了镍基单晶高温合金在中温/高应力稳态蠕变期间的变形机制. 结果表明, 在760 ℃, 760 MPa和800 ℃, 650 MPa蠕变期间, 剪切γ′相的位错可发生分解, 分解后领先的α/3<112>超点阵Shockley不全位错切入γ′相, 拖曳的α/6<112>Shockley不全位错滞留在γ′/γ相界面, 2个不全位错之间形成超点阵内禀堆垛层错(SISF); 此外, 剪切进入γ′相的超点阵位错可由{111}面交滑移至{100}面, 形成具有非平面位错芯结构的K-W锁, 可抑制位错的滑移和交滑移, 提高合金的蠕变抗力. 在850 ℃, 500 MPa蠕变期间, 合金中的层错消失, 部分剪切进入筏状γ′相的α<110>超点阵位错可分解形成“2个α/2<110>不全位错加反相畴界(APB)”的组态, 而合金中K-W锁的消失是由高温热激活致使立方体滑移的位错重新交滑移至八面体所致.
关键词:
Abstract
Ni-based single crystal (SC) superalloys have been widely used to produce turbine blades of aeroengines, but under the action of centrifugal force, creep damage is still the main failure mode. In service, the blades experience multiple cycles of various conditions of high temperatures, low stresses and intermediate temperatures, high stresses, and due to effective and efficient means of cooling and insulating the blades during operation, the actual temperature the blades bear can be smaller than the working temperature at the hot ends of aeroengines, so the systematical study on the creep behavior of SC superalloys at intermediate temperatures, high stresses is significant. It is generally considered that dislocations cutting γ′ phase is the main deformation mechanism of SC alloys at intermediate temperatures, high stresses, and dislocations cutting into γ′ phase can be decomposed into different configurations for different alloy systems, even under similar conditions. Moreover, large amount of dislocations cutting into γ′ phase means the degradation of creep performance of the alloys, so it is significant to study the cutting modes of dislocations. In this work, by means of creep tests, TEM observations and diffraction contrast analysis of dislocations, the deformation mechanisms of a Ni-based SC superalloy during steady-state creep at intermediate temperatures, high stresses are studied. Results show that, under the conditions of 760 ℃, 760 MPa and 800 ℃, 650 MPa, dislocations cutting into γ′ phase are decomposed to form partial dislocations plus superlattice intrinsic stacking faults (SISF). Thereinto, the leading α/3<112> super Shockley partial dislocations cut into γ′ precipitates, while the dragging α/6<112> Shockley partial dislocations remain at γ′/γ interfaces, and between them there exists SISF. Additionally, super dislocations shearing into γ′ phase can cross slip from {111} to {100} crystal planes to form Kear-Wilsdorf (K-W) locks with non-plane dislocation core structure, which can inhibit the slip and cross slip of dislocations to enhance the creep strength of the alloy. At 850 ℃, 500 MPa, stacking faults disappear in the alloy, and some a<110> super dislocations cutting into γ′ rafts can be decomposed to form the configuration of two partial dislocations with Burgers vector of α/2<110> plus antiphase boundary (APB), and K-W locks are released for high-temperature thermal activation results in the cross slip of dislocations from cubic slip systems to octahedral ones.
Keywords:
γ′/γ双相的镍基单晶高温合金具有优良的高温力学性能及抗蠕变性能, 已被广泛应用于制作燃气涡轮机和航空发动机的叶片部件[1-3]. 在高温服役条件离心力的作用下, 蠕变损伤是镍基单晶合金主要的失效方式[4-6], 其中, 位错切入γ′强化相, 并在γ′/γ界面发生裂纹的萌生与扩展, 是合金在蠕变后期失效的重要原因[7].
单晶叶片部件在服役期间可经历中温/高应力和高温/低应力等变化条件的多次循环, 且叶片内孔的风冷作用可使实际温度低于发动机热端的工作温度[8], 因此, 研究单晶合金在中温(750~850 ℃)高应力条件下的蠕变行为十分重要. 通常认为, 中温蠕变期间, 位错切入γ′相可形成“不全位错加层错(内禀层错(SISF), 外禀层错(SESF)或复杂层错(CF))”的组态[9-12], 其中, 层错能通过影响位错扩展宽度而决定不全位错束集的难易程度, 并进一步影响层错强化的效果[13]. 研究表明, 当外加应力低于500 MPa[14,15]或温度高于950 ℃时[16], 合金中的层错消失, 而合金在高温服役条件下, 其筏状γ′相内将出现“不全位错加反相畴界(APB)”的位错组态[7].
位错剪切进入γ′相可形成“不全位错加SISF或APB”的位错组态已有文献报导, 但位错切入γ′相发生分解, 形成“不全位错加SISF或APB”相关的分解方式, 仍存在不同的观点[17-19]. CMSX-2单晶合金在760 ℃, 750 MPa条件下的稳态蠕变期间, γ′相内存在α/2<110>不全位错(α为晶格常数)[17], 而相同条件下, IP René80合金γ′相中可形成“α/3<112>不全位错加层错”的位错组态[18]. 镍基单晶合金在760 ℃, 780 MPa的稳态蠕变期间, γ′相内形成了层错, 层错两侧的α/3<112>和α/6<112>不全位错分别位于γ′相内和γ′/γ界面[19]. 上述表明, 在相近蠕变条件下, 不同单晶合金中位错剪切γ′相具有不同的方式和特征. 由于单晶合金的中温蠕变行为和γ′相的变形机制与发动机叶片部件工作的安全可靠性密切相关, 因此, 应系统研究镍基单晶高温合金的中温蠕变行为及位错剪切γ′相的方式.
本工作对一种[001]取向镍基单晶高温合金在760 ℃, 760 MPa; 800 ℃, 650 MPa和850 ℃, 500 MPa条件下进行蠕变性能测试、组织形貌观察和位错组态分析, 研究镍基单晶高温合金的中温蠕变行为及位错剪切γ′相的特征和方式, 以完善镍基单晶高温合金的中温蠕变理论.
采用选晶法在高温度梯度真空定向凝固炉中, 将成分为Ni-9.0Cr-5.0W-5.5Al-4.5Co-1.7Ti (质量分数, %)的母合金, 制备成[001]取向的镍基合金单晶试棒, 经Laue 背反射衍射方法确定出单晶试棒与[001], [113]和[012]方向的夹角分别为7°, 26°和22°, 合金选用的热处理工艺为: 1250 ℃, 4 h, A.C. (空冷)+870 ℃, 32 h, A.C.. 将热处理后的合金, 经机械研磨和抛光后, 使用100 mL HCl+80 mL H2O+20 g CuSO4的腐蚀液对其进行化学腐蚀, 利用S-3400N型扫描电子显微镜(SEM)观察合金在不同晶面的组织形貌, 构建合金的空间组织结构.
将试棒沿(100), (001)和(010)晶面加工成板状拉伸蠕变样品, 试样横断面尺寸为4.5 mm×2.5 mm, 样品的宽面为(100)晶面, 标距为20.0 mm. 蠕变样品经表面机械研磨和抛光后, 置入GWT504型高温蠕变试验机中, 分别在760 ℃, 760 MPa; 800 ℃, 650 MPa和850 ℃, 500 MPa条件下进行蠕变性能测试, 并绘制蠕变曲线. 将样品蠕变至稳态阶段后终止实验, 带载冷却至室温, 以保持样品中的位错组态. 将蠕变样品制备成直径为3 mm, 厚度约为50 μm的圆片, 用MTP-1A型电解双喷减薄仪在低于-20 ℃条件下制备薄区, 选用的双喷减薄液为10%HClO4+90%C2H5OH (体积分数), 利用Tecnai-20型透射电子显微镜(TEM), 采用双倾台和双束技术进行位错组态的形貌观察和衍衬分析, 并进行位错线矢量测定, 以研究合金在中温条件下的变形机制.
[001]取向镍基单晶高温合金经热处理后, 其(100)晶面组织形貌的SEM像如图1所示. 可以看出, 合金中的γ′相呈现立方体形态, 立方γ′相的平均边缘尺寸约为0.4 μm, 并沿[001]和[010]取向规则排列. 在(001)和(010)晶面, 立方γ′相的形态与(100)晶面完全相同. 由此, 可以确定出该单晶高温合金经热处理后的组织是立方γ′相以共格方式镶嵌在γ基体中, 并沿<100>取向规则排列.
图1 热处理后合金在(100)晶面组织形貌的SEM像
Fig.1 SEM image on (100) plane of the alloy after heat treatment
合金在中温不同条件测定的蠕变曲线如图2所示. 可以看出, 合金在760 ℃, 760 MPa条件下的蠕变初期初始应变(1.87%)较小, 之后进入稳态阶段, 测定出合金在稳态期间的应变速率为0.0119 %/h, 持续时间约为 230 h, 蠕变寿命为379 h. 合金在800 ℃, 650 MPa和850 ℃, 500MPa条件下的蠕变特征与其相似, 但在稳态蠕变阶段的应变速率均较高, 其中, 在800 ℃, 650 MPa稳态期间的应变速率约为0.0286 %/h, 而在850 ℃, 500 MPa稳态期间的应变速率约为0.0304 %/h, 800 ℃, 650 MPa和850 ℃, 500 MPa条件下合金的蠕变寿命分别为136和118 h.
合金在760 ℃, 760 MPa条件下蠕变40 h至稳态阶段后组织形貌的TEM像如图3所示, 其膜面的法线方向为[100], 双箭头为施加应力方向. 可以看出, 合金蠕变至稳态阶段后, 规则排列的立方γ′相已发生形态变化, 原高立方度γ′相的边角已发生轻微球化, 部分立方γ′相扩散连接, 其连接方向与应力轴垂直, 如图中区域I所示. 合金基体中分布着大量的位错, 如区域Ⅱ和ⅡI所示, 其中区域Ⅱ的局部放大形貌示于图3中插图. 可以看出, 部分位错迹线具有90°扭折特征, 如箭头1所示, 这归因于位错在{111}面的交滑移[20]. 此外, 部分位错剪切进入γ′相, 如图3中的箭头4所示. 箭头2和3为相互垂直的层错, 由于其衬度具有明暗相间的对称特征, 且外侧显示暗色衬度, 故可确定该层错为SISF. 层错两端为不全位错[21], 层错条纹的长度即为层错的扩展宽度, 约为500 nm.
图3 合金在760 ℃, 760 MPa条件下蠕变40 h至稳态阶段的TEM像
Fig.3 TEM image of the alloy after being crept for 40 h to steady-state stage at 760 ℃, 760 MPa (s—stress, region I shows the connection of γ' precipitates, regions Ⅱ and ⅡI show large amount of matrix dislocations, arrow 1 in the inset shows dislocation cross slip in γ matrix, arrows 2 and 3 show superlattice intrinsic stacking faults in γ' phase, and arrow 4 shows super dislocations cutting into γ' phase)
合金在800 ℃, 650 MPa和850 ℃, 500 MPa条件下蠕变40 h至稳态阶段的TEM像如图4所示. 可以看出, 经800 ℃, 650 MPa蠕变40 h, 合金中立方γ′相进一步球化, 并进一步沿垂直于应力轴方向连接, 如图4a所示, 其中, 部分沿平行于应力轴方向的γ′相的扩散连接, 如图中区域IV所示, 可能与合金试棒的取向差有关[22]. 随着蠕变的进行, 有蠕变位错在基体通道中以弓出形式运动, 如箭头5和6所示. 此外, 有少量位错剪切进入γ′相, 如箭头7所示, 其中, 部分切入γ′相的位错可发生分解, 形成“不全位错加层错”的组态, 如箭头8所示, 该层错的扩展宽度约为260 nm. 上述表明, 合金在760和800 ℃稳态蠕变期间的变形机制是位错在基体中滑移和剪切进入γ′相, 且剪切进入γ′相的位错可分解形成“不全位错加层错”的组态.
图4 合金在800 ℃, 650 MPa和850 ℃, 500 MPa条件下蠕变40 h至稳态阶段的TEM像
Fig.4 TEM images of the alloy after being crept for 40 h to steady-state stage at 800 ℃, 650 MPa (a) and 850 ℃, 500 MPa (b) (Region IV shows the connection of some γ' precipitates along stress axis, region V shows high-density interfacial dislocations, arrows 5 and 6 show dislocation bowing out, arrows 7 and 9 show super dislocations cutting into γ' phase, arrows 8 and 10 respectively show stacking faults and dislocation pairs in γ' phase)
从图4b可以看出, 合金中局部区域的立方γ′相已转变成与应力轴垂直的N-型筏状结构. 合金基体通道的位错密度明显增大, 并在筏状γ′/γ界面存在高密度界面位错网, 如区域V所示. 少量位错剪切进入γ′相, 如箭头9和10所示, 但未发现位错分解形成层错的组态. 这表明合金在850 ℃稳态蠕变期间的变形机制是位错在基体中的滑移和剪切γ′相.
经760 ℃, 760 MPa蠕变40 h后, 合金中γ′相内的位错组态如图5所示. 可以看出, γ′相内存在层错, 如字母A所示, 层错两侧的2个不全位错如字母C和D所示, 剪切进入γ′相内的超点阵位错标注为B.
当衍射矢量为g=[002]时, 不全位错C和D衬度消失, 如图5a所示, 当衍射矢量为g=[11], [020]和[13]时, 不全位错C显示衬度, 如图5b~d所示, 根据b·g=0及b·g=±(2/3)位错不可见判据, 可以确定, 位错C是Burgers矢量为bC=(a/3)[11]的超点阵Shockley不全位错. 当衍射矢量g=[113]时, 不全位错D显示衬度, 如图5b所示, 当衍射矢量g=[020]和g=[13]时, 不全位错消失衬度, 如图5c和d所示. 根据位错、层错不可见判据, 可以确定, 存在于γ′/γ界面的不全位错D, 其Burgers矢量为bD=(a/6)
此外, 从图5中还可以看到, 合金中γ′相内存在与层错A相垂直的另一层错, 如字母E所示, 表明合金γ′相中至少存在两组等价的<112>Shockley不全位错, 均在{111}面分解. 当衍射矢量为g=[002]时, 位于照片上部的位错B不显示衬度, 如图5a所示, 当衍射矢量为g=[11], [020]和[13]时, 位错B显示衬度, 如图5b~d所示. 根据位错衬度不可见判据, 确定出位错B是Burgers矢量为bB=a[110]的超点阵全位错. 测定出位错B的线矢量为:
合金在800 ℃, 650 MPa蠕变40 h的位错组态如图6所示. 可以看出, 在观察区域内, 合金中γ′相内仅存在单一取向的一组层错G, 层错两侧的不全位错, 如字母H和I所示, 剪切进入γ′相的超点阵位错, 如字母F标注所示.
图5 合金在760 ℃, 760 MPa 蠕变40 h后γ'相内的位错组态
Fig.5 Diffraction contrast images of the alloy after being crept for 40 h at 760 ℃, 760 MPa with diffraction vectors of g=[002] (a), g=[11] (b), g=[020] (c) and g=[13] (d)
当衍射矢量为g=[11]时, 不全位错H和I衬度消失, 如图6b所示, 当衍射矢量g=[020], [13]和[11]时, 不全位错H显示衬度, 如图6a, c和d所示, 根据b·g=0及bg=±(2/3)位错不可见判据, 可以确定位错H是Burgers矢量为bH=(a/3)[21]的超点阵Shockley不全位错. 当衍射矢量为g=[11]时, 不全位错I显示衬度, 如图6d所示, 当衍射矢量g=[020], [11]以及[13]时, 不全位错I衬度消失, 如图6a~c所示, 因此, 根据位错、层错不可见判据可以确定, 在γ′/γ界面的不全位错I是Burgers矢量为bI=(a/6)[21]的Shockley不全位错.
图6 合金在800 ℃, 650 MPa蠕变40 h后γ'相内的位错组态
Fig.6 Diffraction contrast images of the alloy after being crept for 40 h at 800 ℃, 650 MPa with diffraction vectors of g=[020] (a), g=[11] (b), g=[13] (c) and g=[11] (d)
此外, 当衍射矢量为g=[020], [13]和[11]时, 位错F显示衬度, 如图6a, c和d所示, 当衍射矢量为g=[11]时, 位错F衬度消失, 如图6b所示. 根据位错衬度不可见判据, 确定出位错F是Burgers矢量为bF=a[10]的超点阵位错. 此外, 位错F在平行于衍射矢量g=[020]方向显示最长长度, 如图6a所示, 故其线矢量为:
经850 ℃, 500 MPa蠕变40 h后, 合金中γ′相内的位错组态如图7所示. 可以看出, 随蠕变温度由800 ℃提高到850 ℃, 合金中γ′相已由立方体形态完全转变成与应力轴垂直的N-型筏状结构. TEM像中未观察到层错衬度, 但仍有位错剪切进入筏状γ′相, 切入γ′相内的位错分别用字母标注为J, K和L. 其中, 位错J显示双线衬度, 如图7d所示, 本工作定义双线衬度所示的2个不全位错分别为J1和J2.
当衍射矢量为g=[13]时, 位错K衬度消失, 如图7a所示, 当衍射矢量为g=[020], [113]和[022]时, 位错K显示衬度, 如图7b~d所示, 根据g·b=0位错不可见判据, 可以确定位错K是Burgers矢量为bK=a[011]的超点阵全位错. 测定出位错K的线矢量为
图7 合金在850 ℃, 500 MPa蠕变40 h后γ'相内的位错组态
Fig.7 Diffraction contrast images of the alloy after being crept for 40 h at 850 ℃, 500 MPa with diffraction vectors of g=[13] (a), g=[020] (b), g=[113] (c) and g=[022] (d)
当衍射矢量为g=[020]时, 位错J双线衬度消失, 如图7b所示, 当衍射矢量为g=[13], [113]和[022]时, 位错J显示衬度, 如图7a, c和d所示, 且其双线同时显示或消失衬度. 加之, 当衍射矢量为g=[31]时, 位错J显示衬度, 故根据g·b=0位错不可见判据, 可以确定位错J1和J2是Burgers矢量为bJ1=bJ2=(a/2)[01]的不全位错. 由图7d可以看出, 位错J沿g=[022]方向显示最长长度, 故其线矢量为:
镍基单晶高温合金由γ′/γ两相组成, 在中温/高应力蠕变初期, 合金的变形机制是位错在基体中滑移, 随着蠕变进行, 蠕变位错运动至γ′/γ界面受阻, 可在近γ′/γ界面处塞积, 并产生应力集中, 当应力峰值超过γ′相的屈服强度时, 位错可剪切进入γ′相. 其中, 剪切进入γ′相的位错既可在{111}面分解, 形成“<112>不全位错加SISF”的位错组态(图5和6), 也可形成“(a/2)<110>不全位错加APB”的位错组态(图7).
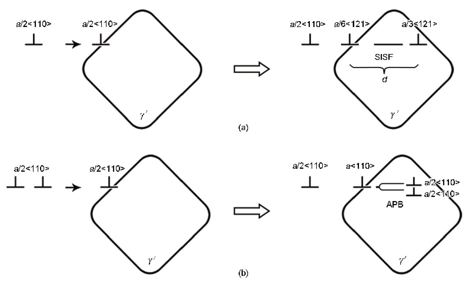
蠕变期间, a/2<110>位错在γ基体中运动至γ′/γ界面受阻、塞积, 并由于应力集中沿界面剪切进入γ′相. 由于合金中γ′相在760 ℃具有较低的层错能, 故(a/2)<110>位错沿γ′/γ界面剪切进入γ′相, 在{111}面分解, 并扩展成2个不全位错, 其中, a/3<112>超点阵Shockley不全位错作为领先位错, 进入γ′相内, 而a/6<112> Shockley不全位错作为拖曳位错滞留在γ′/γ界面, 2个不全位错之间为SISF, 位于{111}面, 这与760 ℃, 760 MPa和800 ℃, 650 MPa蠕变期间, 合金γ′相中形成的层错组态是一致的. 其形成过程可由示意图8a[24]表示, 其反应式如下:

根据位错反应的能量分析, 反应(1)难以进行, 但由于合金在较低温度蠕变期间, γ′/γ两相可保持共格界面, 当基体中一个螺型a/2<110>位错沿界面剪切进入γ′相, 并按式(1)分解时, 存在于界面的a/6<112>位错可释放γ′/γ界面的共格应力, 使系统自由能降低[19], 因此, 合金在760 ℃, 760 MPa和800 ℃, 650 MPa蠕变期间, 可按反应式(1)形成“不全位错加层错”的位错组态. 但与合金在760 ℃, 760 MPa蠕变期间的变形特征比较, 在800 ℃, 650 MPa蠕变期间, 合金γ′相中仅存在少量层错, 且领先位错扩展进入γ′相的距离较短(图4a), 这与合金中γ′相的层错能有关. 与800 ℃相比, 合金中γ′相在760 ℃具有较低的层错能[24,25]. 蠕变期间, 当位错在具有较低层错能的合金中运动时, 位错易于分解及扩展, 故有利于领先位错的扩展及前移, 致使位错扩展形成的层错带较宽(图3). 由于位错分解形成的“不全位错加层错”的组态不易束集, 可抑制位错的交滑移, 因此, 该位错组态可改善合金的蠕变抗力.
随温度进一步升高, 合金中γ′相的层错能提高[24,25], 位错分解的阻力增大, 因此, 在850 ℃, 500 MPa蠕变期间, 合金中γ′相内未发现“不全位错加层错”的位错组态(图4b). 关于850 ℃, 500 MPa蠕变期间合金中γ′相内无“不全位错加层错”组态的分析认为: (1) 随温度升高, 合金的层错能提高, 不利于位错的分解及扩展; (2) 在850 ℃, 500 MPa蠕变至稳态阶段, 合金中γ′相已完全转变成筏形结构, 在γ′/γ界面出现位错网, 两相共格界面转变成半共格界面, 破坏了反应式(1)的能量条件.
图8 位错切入γ'相形成内禀层错(SISF)[22]和反相畴界(APB)的示意图
Fig.8 Schematics of dislocations shearing into γ' phase to form superlattice intrinsic stacking faults (SISFs) (a)[22] and antiphase boundary (APB) (b) (d—expanding distance of SISF)
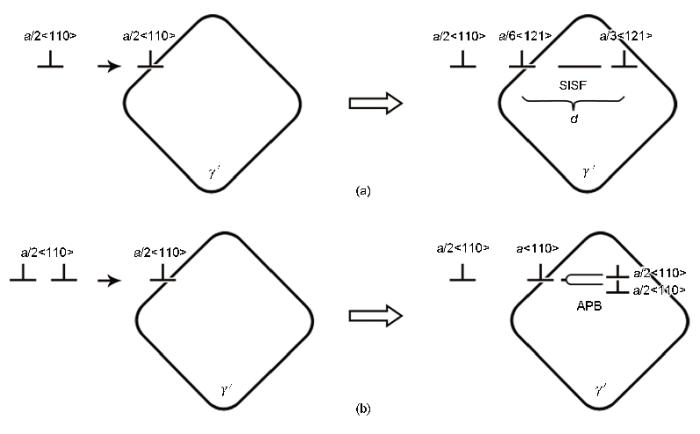
尽管在850 ℃, 500 MPa蠕变期间, 合金中γ′相内未发现“不全位错加层错”的位错组态, 但合金γ′相中可形成“a/2<110>不全位错加APB”的位错组态, 如图7中位错J所示. 即: 剪切进入γ′相的超点阵位错可发生分解, 形成“不全位错加APB”的组态, 其形成过程可由示意图8b表示, 其反应式如下:

分析认为, 在850 ℃, 500 MPa蠕变期间, 合金中γ′/γ界面出现位错网[25], 如图4b中的区域V所示. 蠕变期间, 位错在基体中运动至界面位错网, 可与位错网反应, 其分解的位错分量可改变原来的运动方向[26], 促进位错的攀移, 减缓应力集中, 故可延缓位错剪切进入γ′相, 提高合金的蠕变抗力[27,28]. 随着蠕变的进行, 近γ′/γ界面区域位错塞积的数量增加, 应力集中达一定程度时, 位错可以位错对的形式沿γ′/γ界面切入γ′相[7]. 另一方面, 合金中γ′相形成筏状结构后, 界面位错网数量增加, 较大的应力集中程度可损坏界面位错网, 致使a<110>超点阵位错剪切进入γ′相, 进一步地以自由能降低作为驱动力, 该超点阵位错可分解成2个a/2<110>不全位错, 并在2个不全位错之间形成APB. 由于位错在{111}面分解形成APB需要较高的能量[29-32], 因此, 位错分解形成的APB宽度较窄, 如图7d所示.
对于具有fcc结构的镍基单晶高温合金, γ′和γ两相的易滑移密排面为{111}晶面, 即: 合金在蠕变期间, 激活的位错首先在{111}面滑移. 但衍衬分析表明, 剪切进入γ′相的位错既可在{111}八面体晶面中滑移, 也可在{100}立方体晶面滑移, 如图5和6中的位错B和F所示. 研究[33,34]表明, 合金在蠕变期间, 激活的位错首先在{111}面滑移, 如图9中箭头1所示, 但随蠕变进行, 位错可由{111}面交滑移至{100}面, 如图9中箭头2所示, 因此, 可以认为图5和6中位于{100}面的位错B和F为由{111}面交滑移至{100}面所致. 滑移位错一旦由{111}面交滑移至{100}面, 则可形成Kear-Wilsdorf (K-W)锁的位错组态, 该位错组态是具有非平面芯结构的不动位错[31], 类似于引起金属间化合物或高温合金反常屈服强度的位错结构[35,36], 可抑制位错的滑移和交滑移, 提高合金的蠕变抗力. 因此, 合金在760 ℃, 760 MPa和800 ℃, 650 MPa条件下具有良好的蠕变抗力.
当蠕变温度进一步升高到850 ℃, 合金γ′相中未发现位错在{100}面滑移, 如图7所示. 分析认为, 合金在850 ℃蠕变期间, 位错也可由{111}面交滑移至{100}面, 形成 K-W锁, 但由于蠕变温度较高, 在热激活的作用下, K-W锁中的位错可由{100}面再次交滑移至{111}面[33], 释放K-W锁, 使其重新在{111}面滑移, 如图9中的箭头3所示. 一旦K-W锁中的位错重新激活至{111}面, 则位错非平面芯结构及其抑制位错滑移和交滑移的作用消失, 故位错运动的阻力减小, 合金的蠕变抗力随之降低.
图9 K-W锁形成与释放的示意图
Fig.9 Schematics of the formation and release of Kear-Wilsdorf locks (Arrows 1 and 3 represent dislocation slip on {111} plane, and arrow 2 represents dislocation slip on {100} plane)
此外, 850 ℃, 500 MPa蠕变期间, 合金中γ′相内形成“(a/2)<110>不全位错加APB”的位错组态, 归因于合金在该温度区间有较高的层错能, 该位错组态也可抑制位错的交滑移[29-32], 提高合金的蠕变抗力[37].
(1) [001]取向镍基单晶高温合金在760 ℃, 760 MPa和800 ℃, 650 MPa蠕变至稳态阶段, 剪切进入γ′相的位错可发生分解, 其中, a/3<112>超点阵Shockley不全位错可扩展进入γ′相内, 而a/6<112>Shockley不全位错可滞留在γ′/γ界面, 超点阵内禀层错(SISF)存在于2个不全位错之间.
(2) 合金在760和800 ℃蠕变期间, 剪切进入γ′相的a<110>超点阵位错可由{111}面交滑移至{100}面, 形成具有非平面芯结构的K-W位错锁, 该位错锁可抑制位错的滑移和交滑移, 提高合金的蠕变抗力, 是合金具有较好蠕变抗力的原因之一.
(3) 850 ℃, 500 MPa蠕变期间, 具有较高层错能合金的变形机制是位错在基体中滑移和剪切进入筏状γ′相, 其中, 剪切进入γ′相的a<110>超点阵位错可分解, 形成“(a/2)<110>不全位错加APB”的位错组态, 而高温热激活可促使K-W锁中的位错重新交滑移至{111}面, 是合金在850 ℃蠕变期间K-W锁消失的主要原因.
/
| 〈 |
|
〉 |